位置:首页 > 产品中心
XH-10TS智能锚杆拉拔仪,锚杆拉拔力计, 100kN
型号:XH-10TS

产品介绍

天地星火 XH-10TS 智能锚杆拉拔仪是一款高精度、结构紧凑的检测工具,专为锚杆、钢筋和锚栓的拉拔力测试设计。其主要卖点包括:配备240*320彩色触摸屏,实时显示和自动存储测试数据,支持EXCEl格式导出和电脑联机查看;具备大容量存储卡,可存储多达10000条数据;并支持量程切换和数据自动存储,符合相关设计规范,提供高效、精准的工程质量检验解决方案。

产品用途

由天地星火研制生产的XH-nTS系列拉拔仪(拉力计)适用于锚杆、钢筋(植筋)、锚栓等锚固件锚固力的检测,是锚杆、锚栓施工工程质量检验的推荐仪器。

该拉拔仪由手动泵、液压缸、数字压力表及高压胶管等部分组成。泵体采用铝制合金材料与不锈钢材料制造,使用寿命长。液压缸为中空自复位式,通过快速接头与高压胶管快速连接。彩色触摸屏压力表读数直观,可直读锚杆、锚栓拉力(kN)值。该系列拉拔仪结构紧凑、测量精准、性能稳定。符合GB50367-2006《混凝土结构加固设计规范》与JGJ 145-2013《混凝土结构后锚固技术规程》要求。

产品特点

1、240*320彩色触摸显示屏

2、检测过程自动存储

3、存储卡存储数据,EXCEl格式存储,可电脑联机查看数据

4、拉拔力值-时间曲线显示

5、大容量存储卡,可存储10000条数据。

6、数据自动存储,0.5S存储1个数据。

7、屏幕亮度可调

8、自动关机可设定

9、中英文显示切换

10、量程可切换,一个数显表可标定多台液压缸

11、两种显示界面(数据界面,曲线界面)

11、工程塑料包装箱,防雨、防尘、防撞击。

工作原理

智能拉拔仪(拉力计)的工作原理是:当千斤顶中心孔穿过被测杆件后,选用合适的锚具夹住被测杆件外漏部分;在手动泵液压力的作用下,油压通过油管传递至油缸缸体,活塞杆顶住专用锚具向外运动;压力直接作用在锚具外壳上,再传递至夹片,夹片受力后卡紧被测杆件,最终促使杆件受到向外的拉拔力;此时压力泵上的压力表显示出所对应的受力(kN)值,即反应出被测杆件所受拉拔力的大小。拉拔仪在完成检测后,需用人工以较小的力晃动、振动的方法卸下锚具,才可方便地卸下中空油缸。

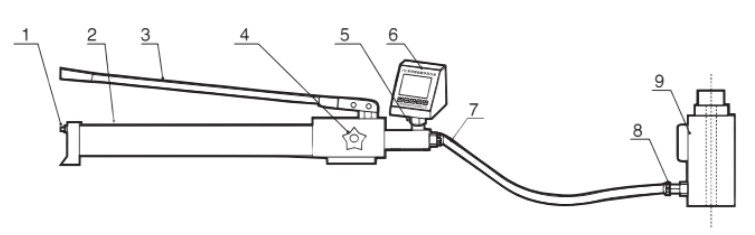
产品结构图

1、加油口 2、储油筒 3、压杆 4、卸荷阀 5、压力传感器 6、智能数显表 7、高压油管 8、快速接头 9、中空自复位液压缸

技术参数

型号

XH-10TS

最大工作压力

60MPa

柱塞直径

15mm

质量

5kg

最大拔出力

100kN

中心孔径

27mm

活塞行程

60mm

质量

6kg

测量范围

0~100kN

电源

4节5号电池

质量

0.3kg

分辨率

0.01kN

示值误差

≤±1%F.S(满量程)

北京天地星火科技发展有限公司
获取底价
提交后,商家将派代表为您专人服务
 
相关产品:
| 首页 | CAS NO | 联系我们 | 会员服务 | 推广服务 | 友情链接 |
版权所有 CopyRight © 2008-2026 粤ICP备08119708号