位置:首页 > 产品中心
QTB腻子柔韧性测定仪
型号:QTB
仪器产地:国产橡塑行业分析仪

产品介绍

国产QTB腻子柔韧性测定仪是专为涂料涂装行业设计的设备,用于判断腻子膜层在弯曲后是否会出现裂纹和脱落现象。这款仪器符合国家标准GB1748—79《88》,结构合理,操作简便可靠。它由压架和脱模两个部分组成,通过将样板插入托膜后端的小槽内,然后用压紧柄将偏心轴压住样板的一端,最后通过压架上的滚动轴使样板均匀地弯曲,以观察样板腻子膜表面的物理变化。该仪器提供两种不同规格的托膜(R25和R50),可根据需要选择。维护方面,用户需在停止使用后清洁仪器表面,润滑转动部位,并放置在通风干燥环境中储存,以确保仪器的性能和寿命。

一、用途:

该仪器是根据国家化工部1980年实施贯彻的标准要求,设计研制的它广泛用于涂料涂装行业,对腻子膜层弯曲后,膜层产生裂纹和脱落现象的判断,仪器结构合理,使用方便可靠。 标准号:GB1748—79《88》

二、工作原理简介:

该仪器主要由压架与脱模两个部分组成,使用时首先将压紧辊柄和压架放置托模的后端,使托膜完全显露出来,然后将样板插入托膜后端的小槽内并用压紧柄使偏心轴压住样板的一端,然后将压架搬下通过压架上的滚动轴使样板沿着托膜表面均匀地弯曲变形,压架搬至定位肖处为上最后观察样板腻子膜表面的物理变化。

托膜规格分为两种:R25 R50

三、仪器保养:

仪器在停止使用时请擦去表面污垢,转动部位涂40#机油润滑,放置通风干燥环境中保存。

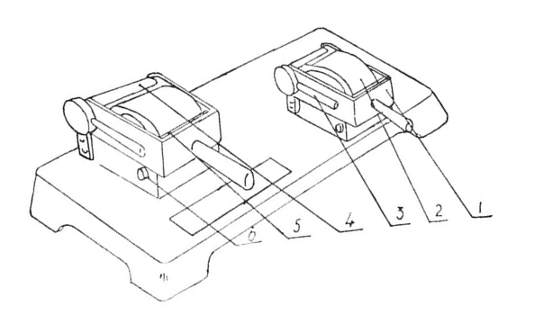
结构示意图

1、压架 2、托膜(R25;R50两种) 3、压紧辊柄

4、偏心轴 5、滚心轴 6、定位肖

技术参数

型号

QTB

符合标准

GB/T1748-79

托膜

R25 R50

试板底材厚度

0.2-0.3mm

试板底材材质

马口铁板

天津市世博伟业化玻仪器有限公司
获取底价
提交后,商家将派代表为您专人服务
 
相关产品:
| 首页 | CAS NO | 联系我们 | 会员服务 | 推广服务 | 友情链接 |
版权所有 CopyRight © 2008-2026 粤ICP备08119708号