位置:首页 > 产品中心
QHD摆杆阻尼试验仪, Konig摆
型号:QHD
仪器产地:国产试验机

产品介绍

QHD型摆杆阻尼试验仪,又称Konig摆,专为色漆、清漆及相关涂层的取样试验而设计,旨在测定这些涂层的皮膜硬度。它遵循专业标准ZBN72020和国际标准ISO1522,使用摆杆在漆膜上摆动,通过衡量阻尼时间(秒)来评估漆膜硬度。该仪器的摆杆类型为Konig摆,具有200±0.2g的摆杆质量,1.4±0.02秒的摆动周期,以及250±10秒的摆动时间和178±7次的摆动次数(在抛光玻璃上)。其工作原理基于摆杆在漆膜表面摆动时的衰减速度,软涂层衰减较快,硬涂层衰减较慢。该仪器结构清晰,包括仪器座、Konig摆、技术装置和仪器罩等部分,可准确测量涂层硬度,符合ZBN72020和ISO1522标准要求。

一、用途:

QHD型摆杆阻尼试验仪是根据专业标准ZBN72020和参照国际标准ISO1522设计制造的。

本仪器使用于色漆,清漆及有关产品的取样试验,以测定色漆清漆及有关产品的皮膜硬度。

二、技术指标:

(一)科尼格摆(Konig)

1、摆的总质量:200±0.2g

2、摆的摆动周期:1.4±0.02S

3、摆的玻璃值:250±10S / 178±7次(在抛光玻璃上,摆杆摆幅从6°位移到3°的阻尼时间/次数)

三、工作原理及结构:

1、工作原理

用摆杆在漆膜上摆幅衰减的阻尼时间以秒计来表示漆膜硬度是根据接触漆膜表面的摆杆以一定周期摆时,如表面越软的话则摆幅衰减越快,反之就越慢的原理。值得注意的是,用不同结构、质量、尺寸,周期的科尼格(Konig)和铂铲兹(Persoz)两种摆杆所作的试验结果之间没有换算关系,这是因为摆杆与涂层间的互相作用还取决于涂层具有的复杂的弹性和粘度等原因。所以产品标准中测定某种漆膜的阻尼时间,只规定使用一种摆杆。

2、仪器结构图

结构:QHD型摆杆阻尼试验仪主要分为以下几部分。

(1)仪器座:用于支承试板和摆杆,座上没有一垂直承杆,并与具有工作平面的水平台相连接。

(2) 摆杆:Konig摆

(3)技术装置,自动记录所需要摆动角度的次数。

(4)仪器罩

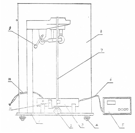
摆杆阻尼试验仪结构图

1、主机 2、起动手柄 3、标尺 4、水平调整脚 5、计时器 6、光电信号线 7、摆 8、仪器罩 9、托板控制手柄 10、快门线 11、光电管架

技术参数

型号

QHD

摆杆类型

Konig摆+Persoz摆

Konig摆杆质量

200±0.2g

Konig摆动周期

1.4±0.02S

Konig平玻璃上摆动时间

250±10S

Konig平玻璃上摆动次数

178±7次

Konig始末摆动角

6°/3°

应用标准

ZBN72020、ISO1522

天津市世博伟业化玻仪器有限公司
获取底价
提交后,商家将派代表为您专人服务
 
相关产品:
| 首页 | CAS NO | 联系我们 | 会员服务 | 推广服务 | 友情链接 |
版权所有 CopyRight © 2008-2026 粤ICP备08119708号