位置:首页 > 产品中心
QSX-17抗穿孔性仪,测定PVC防水卷材抗穿孔性
型号:QSX-17
仪器产地:国产试验机

产品介绍

精科QSX-17抗穿孔性仪是一款用于测试PVC防水卷材抗穿孔性能的专业仪器,符合标准GB12952—91的规定。它采用12.7mm直径的钢球,在控制螺钉的作用下,通过控制器组件将重锤从一定高度释放,撞击冲杆,测试PVC防水卷材的抗穿孔性能。该仪器具有精确的导管刻度和重锤重量,能够提供可靠的测试结果,是评估产品质量和合格性的重要工具。它的结构坚固,外形紧凑,易于操作和维护,是防水卷材生产和质量控制过程中的出色选择。

QSX-17抗穿孔性仪概述

精科QSX-17抗穿孔性仪是符合标准GB12952—91的规定,主要是用于在重锤从高处下落冲击PVC防水卷材时测定其抗穿孔性能,以此检验产品的合格性。QSX-17抗穿孔性仪带有直径为12.7mm的钢球,其导管长度为500mm。

QSX-17抗穿孔性仪原理

用控制器组件将重锤提起,固定在所要求的高度上,其高度由定位标上可读出,按压控制螺钉,则控制器弹簧被压缩,控制器滑块的圆孔与控制器上盖及控制器下底的圆孔对正挂钩,此对重锤下落,撞击冲杆,冲杆向下作用在试样板上,提升重锤、冲杆,取出试样板,以观察试样的抗穿孔性。,以测定其抗穿孔性。

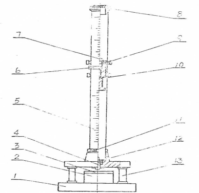
QSX-17抗穿孔性仪结构图

QSX-17抗穿孔性仪结构图

(1)底座

(2)垫块

(3)垫板

(4)冲杆

(5)带刻度的导管

(6)定位标

(7)挂钩

(8)上盖

(9)控制器组件

(10)重锤

(11)锁管螺栓

(12)压板

(13)支柱所

其中控制器组件有:(1)控制器下底(2)控制器螺钉

(3)控制器弹簧(4)控制器上盖(5)控制器滑块(6)控制螺钉。

技术参数

型号QSX-17
金属导管刻度长500mm,分度值10mm
重锤重500g±1g
冲杆端钢球直径12.7mm
垫块150mm x 150mm x 50mm 密度为25Kg/立方米的泡沫聚苯乙烯
垫板150mm x 150mm x 5mm 铝板
净重11Kg
外形尺寸280mm x 155mm x 832mm
天津市精科联材料试验机有限公司
获取底价
提交后,商家将派代表为您专人服务
 
相关产品:
| 首页 | CAS NO | 联系我们 | 会员服务 | 推广服务 | 友情链接 |
版权所有 CopyRight © 2008-2026 粤ICP备08119708号