位置:首页 > 产品中心
QHD摆杆阻尼试验仪,标配Konig摆
型号:QHD
仪器产地:国产试验机

产品介绍

精科QHD摆杆阻尼试验仪是用于测定色漆、清漆等漆膜硬度的专用仪器,符合ISO1522和ZBN72020-86标准。它配备了标配的Konig摆,还可选配铂撒兹摆。该仪器通过测量摆杆在漆膜表面摆动的阻尼时间来评估漆膜的硬度,提供了两种不同总质量的摆杆,满足不同测试需求。它的结构包括仪器座、摆杆、技术装置和仪器罩,能够可靠地评估涂层的硬度性能。

QHD摆杆阻尼试验仪概述

QHD摆杆阻尼试验仪是精科根据标准ISO1522和ZBN72020-86生产设计的用于测定色漆、清漆等相关产品的漆膜硬度,配备了科尼格摆和铂撒兹摆两种不同总质量的摆,分别为200+0.2g和500+0.1g。QHD摆杆阻尼试验仪的主要结构包括仪器座、摆杆、技术装置、仪器罩。

摆杆阻尼试验仪工作原理

漆膜硬度是根据接触漆膜表面的摆杆以一定周期摆时在漆膜上摆幅衰减的阻尼时间(s表示),如表面越软的话则摆幅衰减越快,反之就越慢的原理。注意,用不同结构、质量、尺寸,周期的科尼格(Konig)和铂铲兹(Persoz)两种摆杆所作的试验结果之间没有换算关系,这是因为摆杆与涂层间的互相作用还取决于涂层具有的复杂的弹性和粘度等原因。所以产品标准中测定某种漆膜的阻尼时间,只规定使用一种摆杆。

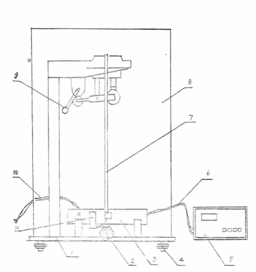
QHD摆杆阻尼试验仪结构图

QHD摆杆阻尼试验仪结构图

1、主机

2、起动手柄

3、标尺

4、水平调整脚

5、计时器

6、光电信号线

7、摆

8、仪器罩

9、托板控制手柄

10、快门线

11、光电管架

有机玻璃罩的安装图

QHD摆杆阻尼试验仪有机玻璃罩安装图

1、上盖

2、前板

3、后板

4、左侧板

5、右侧上板

6、右侧下板

7、边门

8、后门

技术参数

型号

QHD

摆杆类型

Konig摆(Persoz摆需定做,非标配)

Konig摆杆质量

200g±0.2

Konig摆动周期

1.4±0.02S

Konig平玻璃上摆动时间

250±10S

Konig平玻璃上摆动次数

178±7

Konig始末摆动角

6°/3°

Persoz摆杆质量

500g(P摆需定做,非标配)

Persoz摆杆周期

1±0.001S(P摆需定做,非标配)

Persoz平玻璃上摆动时间

≥420s

Persoz平玻璃上摆动次数

420

Persoz始末摆动角

12°/4°

应用标准

ISO1522、ZBN72020-86

天津市精科联材料试验机有限公司
获取底价
提交后,商家将派代表为您专人服务
 
相关产品:
| 首页 | CAS NO | 联系我们 | 会员服务 | 推广服务 | 友情链接 |
版权所有 CopyRight © 2008-2026 粤ICP备08119708号