位置:首页 > 产品中心
D100安息角测试计,粉末安息角测定仪
型号:D100
仪器产地:国产其它粒度分析仪

产品介绍

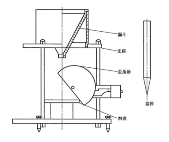
FRARIV D100安息角测试计是根据GB/T 16913-2008标准设计制造的粉末安息角测定仪器。采用注入限定底面法,适用于测量粉尘在水平料盘上堆积后与底部水平面所夹的锐角,即安息角。其组成包括漏斗、量角器和底盘。漏斗具有Φ5mm的流出口直径,锥度为60º±0.5º;量角器范围为7.5cm~10cm;底盘流出口底与盘面距离为80mm±2mm,料盘直径为Φ80mm。该设备结构简单,能准确测定粉尘安息角,符合相关标准,适用于粉末安息角的实验测量。

适用范围

D100粉末安息角测定仪是根据中华人民共和国国家标准GB/T 16913-2008的规定设计、生产。本装置适用于使用注入限定底面法测量粉末的安息角。

将足够满溢料盘的粉尘从漏斗口注入到水平料盘上;测量粉尘堆积斜面与底部水平所夹锐角,即粉尘安息角。

仪器组成

1、漏斗

流出口直径Φ5mm,其中漏斗锥度60º±0.5º;

2、量角器

量角器7.5cm~10cm;

3、底盘

流出口底与盘面距离80mm±2mm,料盘直径Φ80mm。

产品结构图

FRARIV D100 安息角测试计详情图1

技术参数

型号

D100

测量原理

注入限定底面法

符合标准

GB/T 16913-2008

漏斗流出口直径

Φ5mm

漏斗锥度

60º±0.5º

量角器

7.5cm~10cm

流出口底沿与盘面距离

80mm±2mm

料盘直径

Φ80mm

芳溪信息科技(上海)有限公司
获取底价
提交后,商家将派代表为您专人服务
 
相关产品:
| 首页 | CAS NO | 联系我们 | 会员服务 | 推广服务 | 友情链接 |
版权所有 CopyRight © 2008-2026 粤ICP备08119708号