位置:首页 > 产品中心
ETCR300FA柔性线圈电流传感器
型号:ETCR300FA

产品介绍

一. 简介

ETCR系列柔性线圈电流传感器由线圈和手柄组成,线圈部分无任何裸露金属导体,非接触测量,安荃可靠;其体积小、重量轻、外观精美、柔软灵活,适合于狭窄环境和排线密集的场所;测量范围宽、精度高、可靠性强、响应频带宽(0.1Hz-1MHz),用户可根据需求定制线圈长度。广泛适用于电力、通信、气象、铁路、油田、建筑、计量、科研教学单位、工矿企业等领域。特别适合继电保护、可控硅整流、变频调速、半导体开关、功率电子转换设备、电弧焊接等信号严重畸变的工业环境。

ETCR系列柔性线圈电流传感器,即Rogowski

Coil(洛氏线圈),采用先进的罗氏线圈技术,是一个在非铁磁性材料上均匀缠绕的环形线圈,无磁滞效应,几乎为零的相位误差,无磁饱和现象,线性度极高。输出信号是电流对时间的微分,通过对输出电压信号进行积分,就可以真实还原输入电流,其测量电流范围可从毫安级到上万安。主要用于交流漏电流、大电流、高次谐波电流(可达400次)、复杂波形电流、瞬态冲击电流、相位、电能、功率、功率因数等检测。搭配积分器,易于集成到其他设备,如相位检测分析仪、工业控制装置、数据记录仪、示波器、谐波分析仪、电力质量分析仪、高精度数字多用表、瞬态冲击记录仪、分布式测量系统、保护系统等。

二. 型号类别

产品图片

线圈型号

线圈内径

线圈长度

线圈质量

线圈直径

ETCR50FA

φ50mm

160mm

80g

φ7.5mm

ETCR100FA

φ100mm

320mm

90g

ETCR150FA

φ150mm

480mm

100g

ETCR200FA

φ200mm

640mm

110g

ETCR300FA

φ300mm

950mm

132g

ETCR500FA

φ500mm

1580mm

170g

ETCR1000FA

φ1000mm

3150mm

290g

ETCR1500FA

φ1500mm

4720mm

390g

ETCR200FB

φ200mm

640mm

212g

φ12mm

ETCR300FB

φ300mm

950mm

274g

ETCR500FB

φ500mm

1580mm

400g

ETCR1000FB

φ1000mm

3150mm

715g

ETCR2000FB

φ2000mm

6290mm

1340g

ETCR3000FB

φ3000mm

9420mm

1970g

注:线圈长度及接口可按客户要求订制。

三. 技术参数

功 能

交流漏电流、大电流、高次谐波电流、复杂波形电流、瞬态冲击电流、相位、电能、功率、功率因数等检测

检测方式

柔性线圈CT:输出信号是电流对时间的微分,通过对输出电压信号进行积分,就可以真实还原输入电流

线圈直径

φ7.5mm/φ12mm(选购)

量 程

0A~10000A~更高

分 辨 率

10mA

精度等级

±1.0%FS (50Hz/60Hz;23℃±2℃,70%RH以下,导线处于线圈中心位置)

相位误差

≤0.1°(50Hz/60Hz;23℃±2℃)

输出接口

3.5mm音频率插头/PNC插头/抽头(选购),线长2M

电场干扰

无磁滞效应,不受外电场干扰

导线位置

被测试导线处于线圈的中心位置,位置误差影响≤±0.3%FS

电流频率

45Hz~70Hz(被测电流频率)

响应频率

0.1Hz~1MHz

线路电压

AC 1000V以下线路测试

工作温湿度

-20℃~50℃;80%rh以下

存放温湿度

-10℃~60℃;70%rh以下

绝缘强度

AC 2000V/rms(线圈解锁展开后的两端)

适合安规

CAT IV 500V 、CAT Ⅲ 1000V

四.原理及结构

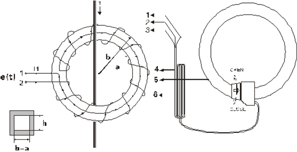
罗氏线圈测量电流的理论依据是“法拉第电磁感应定律”和“安培环路定律”。当被测电流I沿轴线通过罗氏线圈中心时,在环形绕组所包围的体积内产生相应变化的磁场,强度为H,由安培环路定律得:∮H·dl=I(t),线圈的感应电压与H的变化率成正比,因此,所有线圈的感应电势之和与电流的变化率成正比。也就是:e(t)=di/dt,对输出电压e(t)求积分,可获取I,因此,罗氏线圈一般与积分器配套使用。

1.线圈抽头输出 2.线圈抽头输出 3.引线屏蔽层 4.音频插头

5.输出引线 6.线圈 7.手柄 8.板扣

1.线圈抽头输出 2.线圈抽头输出 3.引线屏蔽层 4. 输出引线

5. 柔性线圈 6. 锁扣

定制详情:

广州市铱泰电子科技有限公司
获取底价
提交后,商家将派代表为您专人服务
 
相关产品:
| 首页 | CAS NO | 联系我们 | 会员服务 | 推广服务 | 友情链接 |
版权所有 CopyRight © 2008-2026 粤ICP备08119708号